内页横幅二
内页横幅二

集团动态


喜讯|我公司三项实用新型专利获得国家知识产权局授权

点击量:854发表时间:2021-02-19 17:35:49
新年伊始,再传喜讯!日前,我公司自主研发的三项实用新型专利获得国家知识产权局授权,分别为:一种钢结构焊接用支撑结构、一种钢结构焊接工作平台、一种钢结构焊接冷却设备。

我公司始终将创新放在头等地位,不断加强技术创新工作,在工作实践中寻找创新点,完成技术成果转化,形成自主知识产权。近年来,我公司创新工作不断取得新的突破,利数量和质量得到进一步提升知识产权保护体系逐渐完善。此次实用新型专利取得授权对促进技术创新,增强公司核心竞争力具有重要作用,为公司新的一年扬帆远航提供了科技的支撑,积蓄了前进的动力。






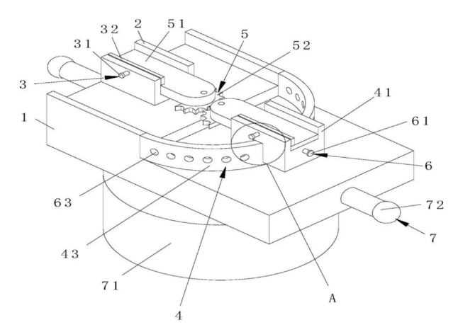
一种钢结构焊接用支撑结构


image.png


钢结构是由钢制材料组成的结构,是主要的建筑结构类型之一,钢结构广泛应用于大型厂房、场馆、超高层等领域。钢结构的连接方式多为焊接,在实际的使用过程中,需要对角焊接,现有的支撑装置多为简单夹持机构,焊接过程比较繁琐,在焊接时可能出现角度偏移,焊接位置不准确的问题。

该实用新型专利提供了一种钢结构焊接用支撑结构,具备焊接角度可调的优点,该专利通过夹持机构的设置,将两个钢结构夹持固定,随后通过滑动机构旋转其中一个钢结构调整角度,最终进行焊接,即达到调节焊接角度的目的,解决了角度偏移、焊接位置不准确的问题。






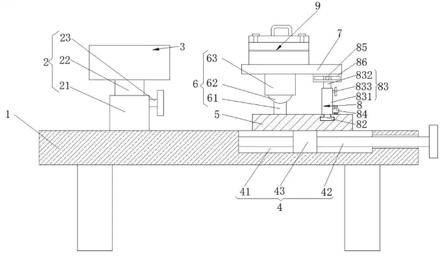
一种钢结构焊接工作平台


image.png


目前钢结构的焊接大多都是将钢结构固定,然后手持另一端钢结构对准进行点焊,然而此焊接方式虽能达到焊接的目的,但稳定性难以保证,甚至会出现较大的焊接误差,给使用者带来不便。

该实用新型专利提供了一种钢结构焊接工作平台,具有焊接便捷的优点。该平台由伸缩调节机构、平移调节机构、活动板、万向转轴、调节板等装置组成。焊接过程中无需手持钢结构焊接,焊接的精准度得以保证,解决了焊接稳定性的问题。






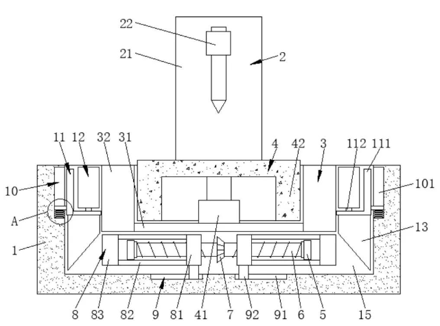
一种钢结构焊接冷却设备


image.png


焊接,也被称作熔接、镕接,是一种以加热、高温或者高压的方式接合金属或其他热塑性材料的制造工艺及技术,在焊接过程中,钢结构的表面会产生大量的热量,一般的钢结构焊接机不具备降温功能,需要将其放置在一旁进行自然冷却,再进行使用。该方法导致钢结构冷却所需时间长,降低了工作的效率。

该实用新型专利提供了一种钢结构焊接冷却设备,该冷却设备由冷却机构、缓冲机构、移动机构等装置组成。通过开启马达,对载物台顶部焊接完毕后的钢结构进行风冷冷却,加速了冷却的效率,不需要冷却时,转动把手即可将冷却机构向下移动进行隐藏,达到了方便使用的目的。

一方面该装置通过风冷冷却对钢结构的表面进行降温,加快了冷却的时间,提高了工作效率。另一方面,在不使用时,冷却机构可以进行隐藏,避免冷却机构被火花溅到导致损坏,延长了该设备的使用寿命。


广发体育_广发(中国)一站式服务平台,

 微信公众号

联系我们

CONTACT US

 

联系电话:0773-7592972

联系邮箱:743704862@qq.com

公司地址:桂林市叠彩区芦笛路21号

广发体育_广发(中国)一站式服务平台, 版权所有          备案号: 桂ICP备2020007785号